0 引言
農業機械在現代農業生產中發揮著巨大的作用,承擔了超過 80% 農業勞動量,是農業生產中不可缺少的重要生產工具。農機產品種類很多,但是很多農機產品生產粗 糙,比如粉碎機、秸稈還田機等,這些機械在使用過程中承 擔工作的主要是其中的螺旋流道零件。普通設備加工螺旋槽需要進行傳動比計算、配換齒輪,并且在有些情況下需要車床刀架扳轉一定的螺旋角。
我國是世界最大的機械制造生產國,數控機床在今天使用非常廣泛,螺旋流道零件用四軸數控加工中心加工能 夠極大地降低成本。
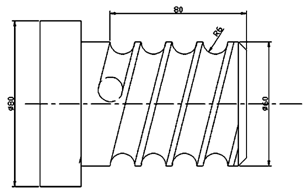
圖 1 是零件的加工圖,該零件在我廠生產時,產品的生產效率低下,一度成為困擾發展的一道難題,我們對加工工藝和加工過程進行了分析細化。
該零件為軸類零件,毛坯外形臺階圓尺寸均已加工, 并符合圖紙尺寸及表面粗糙度值的要求,材料為 45 #鋼, 按圖樣要求加工螺旋流道。

圖 1 螺旋流道件
1 加工方法
零件的加工長度比較長,加工過程中采用一夾一頂裝置,圖示左端用三爪卡盤夾持,右端打預制孔用頂尖支頂, 在加工過程中,使得工件裝夾的更緊,防止細長工件飛出 傷人; 有利于保持同軸度,使得前后的跳動量不會太大。
圖形中導流槽的半徑為 6 mm,槽底為球形,在加工過程中選用 φ12 的高速鋼球頭銑刀進行粗加工,φ12 硬質合金球頭銑刀精加工,球頭刀具在加工過程中直接形成底面 圓弧,提高加工效率。
加工過程中工件坐標系和圖紙中的設計坐標系重合, 可以減少加工誤差,從圖中我們可以看到工件的設計坐標 系位于軸的右端,在加工的過程中選用右端作為工件坐標 系,在實際加工過程中發現有些對刀點的位置不合適,使工件超差,采用試切法對刀,在加工中心上加工,Z 值為刀尖碰到軸的上端面,上端面我們可以貼上一點紙,當刀具 接近端面時紙就會旋轉起來,我們很輕易找到了 Z 值輸入機床,此點也是我們要找的 X、Y 值,此時,刀尖移動碰到右端面即為要輸入的 X、Y 坐標系值( 機床不同輸入數值不同,機床為華中機床,在此位置輸入 X、Y 值為當前機床坐標值) ,此零件的加工坐標系就設置好了,可以輸入程序了。
此零件編程很多數控操作工多選用軟件編程,覺得手 工編程很復雜,其實這類零件用手工編程加工效率高,而且精度容易保證,因為當我們編程的時候通過測量調整刀 偏更容易,可以反復試切。掌握住方法,就會發現編制一個程序的時間遠遠超過讓電腦生成程序的時間。
該零件的螺旋線為 4 根,在 80 mm 的長度上旋轉了360°,零件加工編程采用子程序嵌套法,簡化程序,提高生產率。
華中數控四軸加工中心加工系統
01
% 11
T1 M6 ( 調用 φ12 的高速鋼球頭銑刀粗加工)
G54G90 M3 S500
G0 X15Y0z0( 此時 X 值限制了安全距離,同時也能夠
使螺旋線的切入工件更加自然) M98P10 ( 調用 10 號子程序) M98P20 ( 調用 20 號子程序) G0z100
T2 M6 ( 調用 φ12 硬質合金球頭銑刀精加工)
G0 X15Y0z0 M98P10 M98P20
G0 M5 M30
% 10( 子程序) G91G1z - 6F100 G1X - 60A360
G0Z5 X15Y0
A - 360( 刀具回到起點)
M99
% 20( 子程序、增量方式四等分加工螺旋流道)
G91G0A90 M98P10 M99
從程序中看到利用 G91 增量和子程序的嵌套完成了螺旋件 1 的加工任務。整個程序內容并不多,A 代表 X 軸轉動,轉動為 360°。在加工的時候,X 軸進行相應的旋轉,度數越大螺旋線越長,根據需要進行相應的調整。
采用此程序加工此類零件,可以發現程序簡單,同樣的把第二個子程序中的 A90 替換為 180,即可加工 2 線的螺旋流道,也就是 n 線螺旋流道,只需用 360 / n,在第二個子程序中輸入相應的數值即可。如果單線的,第二個子程 序就不需要。
2 尺寸精度控制
精度是一個產品靈魂,精度達不到產品就不能使用, 而會導致生產的一系列浪費。農機產品零件雖然精度不 高,但是也有精度的要求,在實際加工的過程中發現數控 加工中心用銑刀加工的過程中,由于采用順銑加工,刀具 和工作臺的進給方向一致,零件經常發生欠切,那么我們 就不用留有加工余量( 提高效率) ,直接欠切量就是加工余量,我們可以根據測量出的數值,和零件圖的加工圖紙 比對,把差值除以 2( 保證精度) ,輸入到刀偏位置,再進行加工即可得到合格的零件,這樣可以提高加工的速度。
3 結論
我國農機零件加工正在向“綠色、高效、低能耗、高質量”方向發展,使用數控加工中心加工是今后的發展方向,本例 螺旋導流槽利用加工中心加工節省了人力、降低了加工成 本,質量得到了有效保證。
2024-11
本文以組合式六角亭模型為實例,分析工藝難點與加工可行性,指出該模型的加工難點是模型形狀不規則和整體剛性差,并通過設計新的工藝方案解決加工難點,完成了模型整體的加工。新的加工工藝有助于提高加工效率和精度,為五軸數控加工提供了一個典型案例,對于五軸加工中心數控加工也具有指導作用和重要… [了解更多]
2024-11
宇匠數控 備注:為保證文章的完整度,本文核心內容由PDF格式顯示,如未有顯示請刷新或轉換瀏覽器嘗試,手機瀏覽可能無法正常使用!本文摘要:通過對混聯五軸加工中心自適應深度學習控制方法的 研 究,可 知 此 方 法 的 創 新 之 處 在 于:1)建 立 了 機 床 的 運 動 學 … [了解更多]
2024-11
在機測量技術由于其成本低、檢測效率高、無需二次裝夾等優勢被廣泛用于零件加工測量當中,使得五軸加工中心和五軸鉆攻中心,同時又兼具測量功能。在機測量系統的構成如圖1所示,硬件部分主要是由高精度探頭、信號接收器、機床整個本體,軟件部分由機床控制系統、測量軟件等組成[8]。待零件加工完成… [了解更多]
2024-11
?加工精度是影響機床性能和產品質量的主要難題,也是制約國家精密制造能力的重要因素。本文以五軸加工中心為對象,針對提升機床精度進行了研究。并且隨著科技的發展,精密的儀器和零件在生產實踐中占據的分量逐漸增加,在數控機床這種精密機器精度不斷提高的同時,必須控制內外界環境的隨機影響因素在… [了解更多]